A Sony registrou uma nova patente de inteligência artificial que descreve um sistema capaz de assumir o controle de jogos da PlayStation quando o jogador estiver travado. O documento, publicado nesta semana pela Organização Mundial da Propriedade Intelectual, detalha um recurso chamado “Ghost Player” — que funcionaria como uma espécie de jogador fantasma controlado por IA.
Segundo a patente, o sistema permitiria que o próprio jogo demonstrasse ou resolvesse trechos específicos, como quebra-cabeças ou seções de progressão. A ideia é que o jogador possa solicitar ajuda quando não consegue avançar, sem precisar sair do game para buscar guias externos.
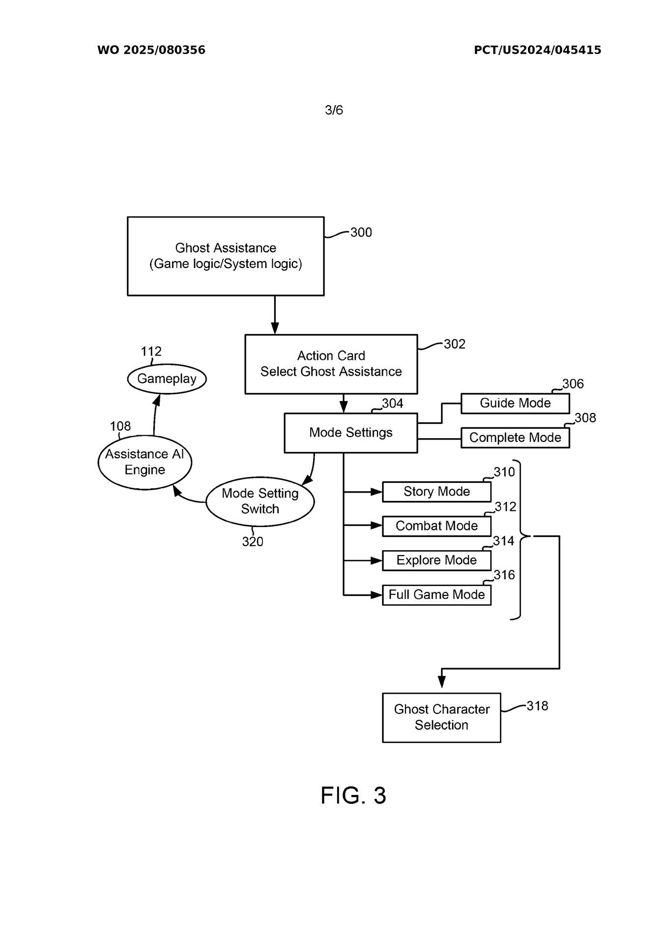
O pedido original foi feito pela Sony em setembro de 2024 e descreve uma evolução das ferramentas de assistência já existentes no PlayStation 5, ampliando o conceito de ajuda contextual com intervenções diretas da IA dentro da jogabilidade.
Jogador seria orientado por um “modo guia” que joga sozinho caso ele estiver perdido
De acordo com os documentos, o Ghost Player criaria uma versão “fantasma” do personagem do próprio jogador, controlada por IA, capaz de executar ações dentro do jogo para mostrar ou resolver desafios.
O sistema teria dois formatos principais: um “Modo Guia”, que apenas demonstra a solução, e um “Modo Completo”, que finaliza automaticamente a parte em que o jogador está preso. Em um exemplo citado na patente, um Nathan Drake controlado por IA mostraria como resolver um enigma em Uncharted.

A Sony afirma que a IA seria treinada com imagens reais do próprio jogo, em vez de depender de sequências pré-programadas por desenvolvedores, o que permitiria respostas mais dinâmicas às situações enfrentadas pelo jogador.
O recurso é apresentado como uma evolução da Ajuda de Jogo do PS5, sistema que já oferece dicas em imagens e vídeos por meio dos cartões do console. “Quando compatível, o sistema podia fornecer orientações sem que o jogador precisasse sair do jogo”, descreve a própria documentação.
Segundo fãs, essa função é especialmente útil para caçar troféus, já que evita consultar guias externos. A nova patente indica que a Sony quer ir além, oferecendo intervenção direta da IA dentro do gameplay.
Embora patente esteja registrada, Sony não confirmou oficialmente o uso da tecnologia
Apesar do registro, não há confirmação oficial de que a Sony pretende usar essa tecnologia em jogos futuros. Patentes desse tipo são frequentemente registradas por grandes empresas como forma de proteger ideias, mesmo que elas nunca cheguem ao mercado.
A própria documentação reconhece que o sistema ainda é apenas um conceito técnico, sem anúncio oficial de implementação em consoles, jogos ou serviços do PlayStation.
Esse tipo de movimento é comum na indústria. Ao longo dos anos, empresas como Sony, Nintendo e Microsoft já patentearam diversas tecnologias que nunca foram transformadas em produtos finais.

Ainda assim, a Sony observa que assistentes com IA estão se tornando cada vez mais comuns nos games, citando exemplos como o Copilot for Gaming, da Microsoft, lançado em 2025 como um “assistente virtual com inteligência artificial” para ajudar jogadores em títulos como Minecraft e Age of Empires IV.
E você, o que acha dessa patente da Sony que permitiria a IA jogar por você quando estiver travado? Comente sua opinião nas redes sociais do Voxel!

